栏目分类
蔚来新专利, 取消刹车系统, 整合在电机里, 能杀得住吗?
发布日期:2025-12-30 06:35 点击次数:100
取消刹车后,车还能刹住吗?
这种设计能给用户带来什么?
制造难点和缺点是什么,为什么没有大规模采用?
蔚来申请了一套取消常规刹车的专利,从结构上看,像是把刹车取消了。

取消刹车后,车是怎么刹住的?
在传统汽车上,刹车等同于轮边制动,刹车盘和卡钳直接固定在轮毂附近,靠夹紧盘面来阻止车轮转动。这套结构成熟、直观,但也有明显的问题,比如簧下质量高、轮边空间紧张、散热高度依赖气流,同时刹车粉尘直接排放到环境中。

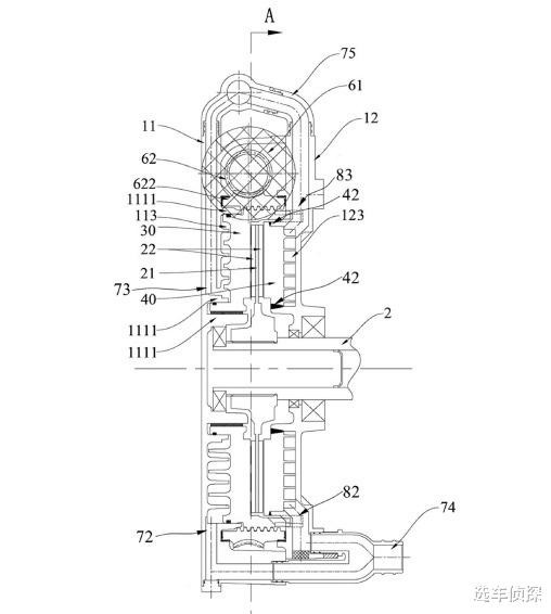
新专利选择了一条不同的路径,轮毂内看不到刹车,其实并不是刹车消失了,而是搬到了传动轴上,如果你跑过卡丁车,就会发现卡丁车轮子过小,无法装下刹车,所以刹车也放在轴上,简单来说,就是“掐住轴”,间接让车轮减速。


从结构上看,这套专利的刹车被完整封装在电驱壳体内,核心是一套围绕传动轴布置的三明治式摩擦结构。摩擦盘套在传动轴上,与轴同步旋转;一侧是固定在壳体内的固定盘,另一侧是可以沿轴向移动的驱动盘。正常行驶时,这几块盘片彼此分离,传动轴可以自由转动;当需要刹车时,把摩擦盘夹在两侧盘之间,通过摩擦让车停下来。

专利没有采用传统液压卡钳,而是使用了螺纹副结构,驱动盘外缘做成外螺纹,外部套一只带内螺纹的齿圈。小电机通过蜗杆驱动齿圈转动时,驱动盘就会沿着螺纹前后爬行,从而完成夹紧或释放动作。由于蜗轮蜗杆结构具备自锁特性,一旦夹紧,即使不持续供能,也能稳定保持制动力,同一套机构可以承担刹车和手刹的功能。

这种设计能给用户带来什么?
技术看似复杂,但作用其实简单,首先是簧下质量的下降。刹车盘和卡钳不再挂在轮边,悬架所要控制的非簧载质量明显减轻,这对底盘响应、舒适性、NVH以及极限操控都有直接好处,同时也释放了轮罩内的空间,为空气动力学或更大转向角度提供了设计余量。

其次是冷却系统更专业,传统轮边刹车主要依靠空气流动带走热量,而轴上制动被封闭在金属壳体内,如果仍然使用风冷,几乎不可行。正因为如此,这项专利在结构上直接引入了双面液冷设计:驱动盘背面与壳体之间布置了冷却流道,冷却液从外向内螺旋流动;摩擦盘两侧几乎都“贴着水冷板”,即使是长下坡、反复重刹等工况,也不会热衰减。

第三个优势是刹车粉尘的封闭管理。常规轮边刹车产生的摩擦粉尘会直接排放到空气中,一方面污染环境一方面轮毂经常脏兮兮,洗车头疼,而封闭式轴上制动器可以把颗粒物限制在壳体内部,在维护时集中处理。类似“刮胡刀”,不是直接排出胡茬,而是存储起来定期清理。

为什么没有被大规模采用?
当然这种设计并没有大规模使用也有原因,最直接的问题来自热管理。虽然冷却系统更专业,但也更复杂,电驱系统本身已经需要处理电机和齿轮产生的多种热,现在再把制动摩擦产生的大量瞬时热量引入同一套系统,对冷却能力、回路设计和失效后的兜底都提出了更高要求。一旦冷却系统出现异常,影响的就不只是刹车性能,而是整个电驱的安全性。

其次,轴上制动意味着所有传动件都要承受刹车力。这种架构下,制动力需要经过齿轮、轴承甚至电机转子,相关零部件在极端工况下的强度和寿命设计都会更加苛刻,成本和设计难度随之上升。

此外,在量产层面,深度集成也带来了保养维修方面的问题。刹车系统是电驱总成的一部分,这对供应链和后期维修保养都提出了新的要求,去店里修刹车,换刹车片,还要把电机拆开,简单的事情变得更复杂。

选车侦探观点:简单说,蔚来的专利没有将刹车彻底移除,而是从轮毂里面搬到了电机里面,整合在电驱系统里,释放了轮毂空间,减轻黄下质量,这要比悬挂从钢板换铝合金更有效,操控直接灵活,缺点就是后期维修复杂,成本上升。大家觉得这种设计靠谱吗?欢迎讨论。